Магазин запчастей для бытовой техники - Arlos
Москва
close
Выберите ваш регион
АбаканАлександровАльметьевскАнгарскАрзамасАрмавирАртемАрхангельскАстраханьАчинскБалаковоБалашихаБеларусьБелгородБердскБерезникиБийскБлаговещенскБратскБрянскВеликий НовгородВидноеВладивостокВладикавказВладимирВолгоградВолгодонскВолжскийВологдаВолховВоркутаВоронежВоскресенскВыборгГатчинаГеленджикГрозныйДедовскДербентДзержинскДзержинскийДимитровградДмитровДолгопрудныйДомодедовоДонецкЕвпаторияЕгорьевскЕкатеринбургЕлецЕссентукиЖелезногорскЖелезнодорожныйЖуковскийЗеленоградЗлатоустИвановоИвантеевкаИжевскИркутскИстраЙошкар-ОлаКазаньКалининградКалугаКаменск-УральскийКамышинКаспийскКемеровоКерчьКировКисловодскКлинКовровКоломнаКомсомольск-на-АмуреКопейскКоролёвКостромаКотельникиКрасногорскКраснодарКраснознаменскКрасноярскКурганКурскКызылЛенинск-КузнецкийЛипецкЛобняЛыткариноЛюберцыМагнитогорскМайкопМалаховкаМахачкалаМиассМоскваМурманскМуромМытищиНабережные ЧелныНазраньНальчикНаро-ФоминскНахабиноНаходкаНевинномысскНефтекамскНефтеюганскНижневартовскНижнекамскНижний НовгородНижний ТагилНовокузнецкНовокуйбышевскНовомосковскНовороссийскНовосибирскНовоуральскНовочебоксарскНовочеркасскНовошахтинскНовый УренгойНогинскНорильскНоябрьскОбнинскОдинцовоОктябрьскийОмскОрелОренбургОрехово-ЗуевоОрскПавловский ПосадПензаПервоуральскПермьПетрозаводскПетропавловск-КамчатскийПодольскПрокопьевскПсковПушкиноПятигорскРаменскоеРеутовРостов-на-ДонуРубцовскРыбинскРязаньСакиСалаватСамараСанкт-ПетербургСаранскСаратовСевастопольСеверодвинскСеверскСергиев ПосадСерпуховСимферопольСмоленскСосновый БорСочиСтавропольСтарый ОсколСтерлитамакСтупиноСургутСызраньСыктывкарТаганрогТамбовТверьТихвинТольяттиТомилиноТомскТроицкТулаТюменьУлан-УдэУльяновскУссурийскУсть-ИлимскУфаУхтаФеодосияФрязиноХабаровскХанты-МансийскХасавюртХимкиЧебоксарыЧелябинскЧереповецЧеркесскЧеховЧитаШахтыЩелковоЭлектростальЭлистаЭнгельсЮжно-СахалинскЯкутскЯлтаЯрославль
  • - бесплатно по РФ
    Автоперезвон. Работает по принципу: Вы позвонили на номер, мы сбрасываем звонок и перезваниваем через 3 секунды.
  • - по Москве
  • 8 (925) 663-83-63

Call-центр

пн-вс: 10:00-19:00

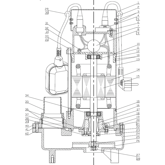
Насос фекальный НПФ-750

Данная модель имеет несколько схем

NАртикулНазваниеСрок отгрузкиЦенаКупить
1 V000-006-349 Шнур сетевой ZUBR, H07RN-F, Rubber, 3G 1.0mm2, 5m 674 р.
2 N000-026-246 Ручка
3 N000-026-237 Винт M4X6
4 N000-026-247 Зажим кабеля
5 N000-026-212 Винт M5X12
6 N000-026-248 Винт M5X10
7 N000-026-249 Крышка насоса
8 V000-007-546 Конденсатор 20мкФ 450В 249 р.
9 N000-026-250 Провода соединительные
9 V000-003-362 Выключатель поплавковый V000-003-362 для насосов НПФ-250, НПФ-1500-Р 887 р.
10 N000-026-251 Кольцо уплотнительное Ф115X(Ф109,7)XФ2,65
11 U009-620-2RS Подшипник шариковый 6202-2RS (35x15x11) n/n 189 р.
12 N000-026-252 Корпус двигателя верхняя часть 1.538 р.
13 N000-026-253 Корпус двигателя 1.935 р.
14 N000-026-274-2 Статор АД 7.754 р.
15 N000-026-275 Ротор 5.590 р.
16 N000-026-256 Корпус двигателя нижняя часть 1.538 р.
17 N000-026-225 Сальник 126 р.
19 N000-026-230 Болт M5X14
20 N000-026-258 Болт M6X20
21 N000-026-259 Шайба пружинная D6
22 N000-026-260 Крышка
23 N000-026-261 Кольцо уплотнительное Ф28XФ14X6 616 р.
24 N000-026-262 Корпус насоса 18.617 р.
25 N000-026-231 Шпонка 4X4X10
26 N000-026-263 Крыльчатка насоса 445 р.
27 N000-026-264 Гайка M10
28 N000-026-265 Шайба пружинная D10
29 N000-026-239 Воротник кабеля
30 N000-026-240 Втулка кабеля
32 N000-026-266 Клемма
33 N000-026-267 Болт M6X180
34 U009-620-3RS Подшипник шариковый 6203-2Z (40х17х12) BY 344 р.
35 N000-026-268 Штуцер 383 р.
36 N000-026-243 Кольцо уплотнительное Ф55X(Ф49,7)XФ2,65
37 N000-026-269 Кольцо уплотнительное Ф120X(Ф114,7)XФ2,65
38 N000-026-244 Винт М8
39 N000-026-270 Кольцо уплотнительное Ф13X(Ф6,8)XФ3,1
40 N000-026-271 Патрубок 53 р.
41 N000-026-272 Прокладка 39 р.
42 N000-026-273 Болт M6X25
Найдено товаров: 41
1
▲ Наверх
0
8 (925) 663-83-63

Call-центр

пн-вс: 10:00-19:00

НАЙТИ ПО МОДЕЛИ
Введите номер заказа
Введите номер своего заказа, что бы узнать его текущий статус.
Что бы получить доступ к расширенным функциям, пройдите не сложную регистрацию. Зарегистрироваться